İleri Kinematik-2 etiketine sahip kayıtlar gösteriliyor. Tüm kayıtları göster
İleri Kinematik-2 etiketine sahip kayıtlar gösteriliyor. Tüm kayıtları göster

7 Haziran 2015 Pazar

İleri Kinematik-2


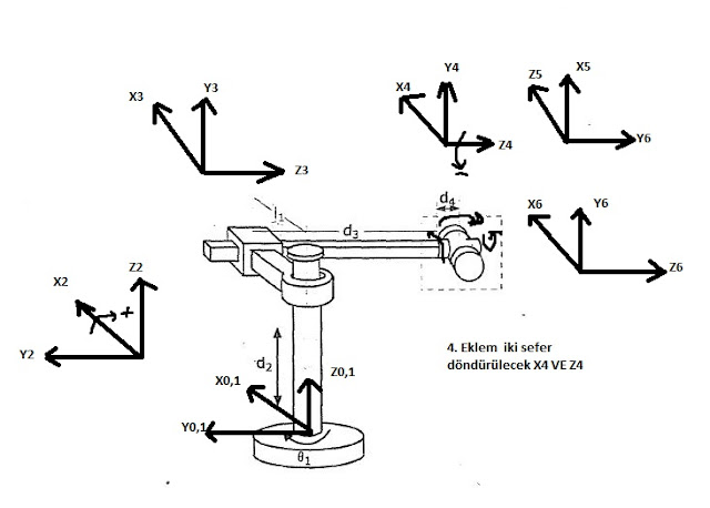
                                  Şekil.1 RPPRRR eklemli robot manipülatörü

Robotun XYZ eksenler belirlendikten sonra D-H tablosu oluşturuldu. D- H tablosu oluşturulduktan sonra matlab da tanımlanan semboller (theta açısı, alfa açısı) matrisler oluşturularak işlemler yapılır. 


Şekil.2 RPPRRR eklemli robot manipülatörünün XYZ eksenleri

Daha sonra D-H tablosundan temel dönüşüm matrisleri elde edilip matlab da çarpılıp robot manipülatörünün Px, Py ve Pz konumları bulunur. Matrisler;

T1=[ cos(TH1)    -sin(TH1)    0   A1
         sin(TH1)     cos(TH1)    1   D1
           0                      0           0    0
           0                      0           0    1]

T2=[    1    0  0    A2
            0    1  0     0
            0    0  1    D2
            0    0  0     1]

T3=[  1    0     0    A3
          0    0    -1    0
          0    1     0    D3
          0    0     0    1]

T4=[ cos(TH4)    -sin(TH4)     0   A4
         sin(TH4)     cos(TH4)     1    D4
           0                      0            0     0
           0                      0            0     1]

T5=[ cos(TH5)    -sin(TH5)   0     A5
           0                     0          -1    -D5
         sin(TH5)    cos(TH5)    0       0
         0                    0              0       1]

T6=[ cos(TH6)    -sin(TH6)   0     A6
         0                   0               1     D6
         -sin(TH6)    -cos(TH6)  0      0
         0                    0               0     1]

6 eksenli robot manipülatörü XYZ eksenleri yerleştirildikten sonra Px, Py ve Pz konumları elde edilir.

Python Pyqt5 ile Hesap Makinası

from PyQt5.QtWidgets import * from PyQt5.QtGui import * from mainUI import * from PyQt5.QtCore import * import sys # ----------------------U...